页面设置
设置页面的整体风格
  • 颜色方案

如何管理销售开票记录

2025-01-17 09:13:32
  • 张小川

    我们的销售团队会在知客CRM系统中录入合同信息,而我们需要后续财务开票后可以将合同的开票信息同步记录在CRM系统中,并且让我们的销售团队也可以更清晰地了解并掌握每个合同的开票记录信息。

  • 知客CRM提供了专门的销售合同开票记录管理功能,销售人员轻松管理开票记录,并且我们还提供了一个统计页面用于集中查看和管理大多数的销售开票记录。接下来是详细的操作指南:

  • 操作指南:如何管理销售开票记录

  • 1、我们通过知客CRM的左侧菜单栏,进入【销售】-【销售过程】-【订单合同】的页面里。

  • 下面是【知客CRM菜单栏:进入订单合同列表】操作界面的截图,您可以点击放大看看。

  • 2、订单合同列表会显示当前账号有权限查看的大多数订单合同。我们在列表上找到要管理开票记录的合同,点击合同编号的蓝色链接进入该合同的信息视图中。

  • 下面是【知客CRM合同列表:进入合同信息视图】操作界面的截图,您可以点击放大看看。

  • 3、我们接着进入合同信息视图的【回款与开票】页面里。在这里我们可以通过点击【添加开票】来为该合同添加开票记录。

  • 下面是【知客CRM合同信息视图:回款与开票页面】操作界面的截图,您可以点击放大看看。

  • 4、在添加开票记录的界面中,我们填写好发票号、发票类型、开票金额等基础信息后,可以接着将快递公司和快递单号也记录在这里。添加好的开票记录会显示在合同信息视图的【回款与开票】页面的【开票记录】列表里。

  • 下面是【知客CRM回款与开票页面:添加开票记录】操作界面的截图,您可以点击放大看看。

  • 下面是【知客CRM回款与开票页面:查看开票记录】操作界面的截图,您可以点击放大看看。

  • 5、接着我们回到订单合同列表,打开列表上的【更多操作】,进入【开票记录】页面。

  • 下面是【知客CRM订单合同:进入开票记录汇总列表】操作界面的截图,您可以点击放大看看。

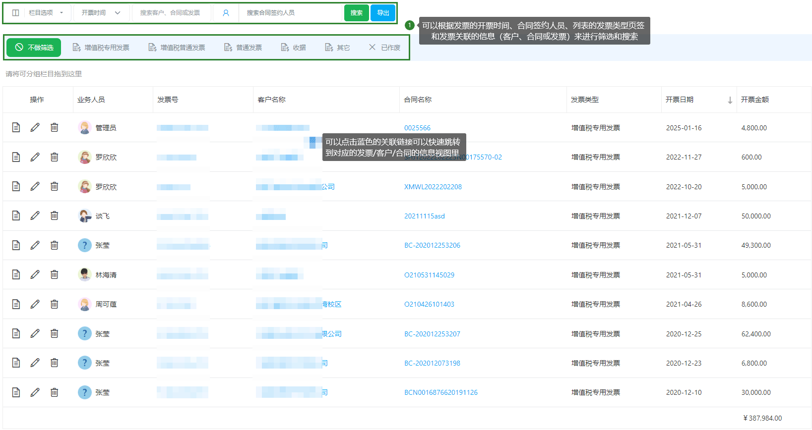
  • 6、回款节点汇总列表里汇总了系统内大多数可见合同的开票记录。我们可以根据发票的开票时间、合同签约人员以及列表上的发票类型页签去筛选查找开票记录,也可以根据关联信息(客户、合同或发票)来进行搜索。

  • 下面是【知客CRM开票记录汇总列表:查找开票记录】操作界面的截图,您可以点击放大看看。

  • 在搜索到开票记录信息后,我们可以在发票列表上了解发票记录的各项信息,也可以点击蓝色的关联链接来快速跳转到对应的发票/客户/合同的信息视图里去。

  • 想了解更多有关知客CRM的细节,请查看以下链接。