页面设置
设置页面的整体风格
  • 颜色方案

CRM软件如何管理应收款

2022-05-30 13:50:43
  • 张小川

    随着合同数量的增加,公司很多应收款未能得到及时跟进,导致回款不及时,影响公司现金流。为此,我们希望通过CRM软件来管理合同应收款,以便筛选出大多数未收齐款项的合同,并安排相关人员去及时跟进收款。那么,知客CRM软件能否实现公司应收款的管理?

  • 解答:知客CRM提供了应收款搜索功能和应收款列表功能

  • 您可以通过知客CRM的订单合同模块的高级搜索功能,筛选出有哪些待收款的合同。或者,您可以直接打开应收款记录,来直接汇总出大多数应收款项。以下是具体的操作步骤:

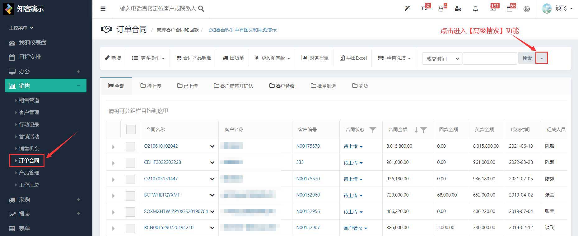
  • 1、我们登录知客CRM,进入【销售 - 订单合同】模块,我们可以点击进入【高级搜索】功能。

  • 下面是【crm订单合同模块】操作界面的截图,您可以点击放大看看。

  • 2、在【高级搜索】界面里,我们可以根据合同的收付款详情(如尚未回款、未尽收款、全款已回等)进行未收齐款项的订单合同的筛选。

  • 下面是【订单合同高级搜索功能】操作界面的截图,您可以点击放大看看。

  • 3、而除了通过合同支付款情况进行筛选,我们还可以通过合同的应收款列表来汇总未收齐款项的合同。我们在客户管理模块中,进入【应收和回款 - 应收记录】。

  • 下面是【crm应收款记录】操作界面的截图,您可以点击放大看看。

  • 4、在合同的应收款列表里,CRM系统会自动根据回款情况(到期且未收齐、未收、已收部分等)将合同分类,我们点击对应页签就可以查看里面记录的合同详情了。也可以设置好筛选条件(客户名称、业务人员、收款时间等),找到更具体的应收款记录。

  • 下面是【crm应收款列表和筛选】操作界面的截图,您可以点击放大看看。